

8月12日下午消息,据阿里拍卖消息,贾跃亭持有的乐视网信息技术(北京)股份有限公司约1.2亿股的股票将于2021年9月11日在阿里拍卖平台上公开拍卖,同时被拍卖的还有其哥哥贾跃民持有的乐视网总计2000万股的股票。
天眼查App显示,目前贾跃亭在乐视网信息技术(北京)股份有限公司的十大股东中,持有约8.98亿股,占总股本比例22.52%;其哥哥贾跃民持有约2451.34万股,占总股本比例0.61%。
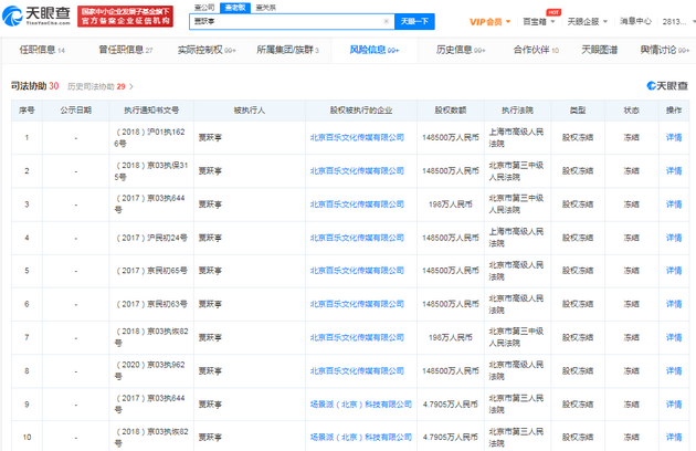
天眼查风险信息显示,贾跃亭及其哥哥贾跃民已关联多条被执行人、限制消费令及股权冻结信息。8月4日,贾跃亭还因借款纠纷被执行超4.5亿,目前其被执行总金额已超94亿元。
