华为转让荣耀系列商标

企业
TIME
2021-11-19 11:01
科技世界网
分享

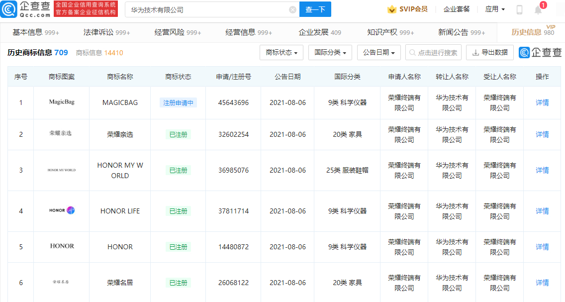
  近日,企查查消息显示荣耀终端有限公司新增多条商标受让信息,转让人为华为技术有限公司,转让数量超700个,商标包括荣耀亲选、荣耀、荣耀名居等,商标国际分类涉科学仪器、家具、服装鞋帽等。

image.png

  根据企查查显示,荣耀公司曾在2020年11月发生工商变更,华为退出荣耀投资人。

image.png

THE END
免责声明:本文系转载,版权归原作者所有;刊载之目的为传播更多信息,如内容不适请及时通知我们。

相关热点

  今年2月,苹果公司发布了 "轻触支付"(Tap to Pay)的新功能,该功能将使商家仅用一部iPhone就能接受支付,这可能会削减Square等公司的业务。现在,事实证明,苹果已经在其位...
消费
  有着中国第一听歌软件的腾讯音乐,在没有独家版权加持后,其应收大跌也是可以预见的,同时活跃用户下跌也是必然。  5月17日,腾讯音乐公布了该公司截至3月31日的2022财...
企业

相关推荐

1
3